Мы используем cookie для наилучшего представления нашего сайта. Подробнее об этом в Политике конфиденциальности.
Ок

Тимашевск

Ваш город:
Тимашевск (Краснодарский край)?
Нет
Да
Каталог
Каталог Написать в WhatsApp
Мотоэкипировка

Корпус ведущего вала 2-Х ТАКТНОГО ПЛМ MERCURY 60 Серийный номер от 0T980000 и выше

Корпус ведущего вала 2-Х ТАКТНОГО ПЛМ MERCURY 60 Серийный номер от 0T980000 и выше в Краснодаре: актуальный каталог, цены, фото, описание. Купите корпус ведущего вала 2-х тактного плм mercury 60 серийный номер от 0t980000 и выше в кредит – оформите заявку онлайн за 1 минуту!

Оригинальные запчасти

Артикул НАИМЕНОВАНИЕ Кол-во деталей в узле Примечание Наличие Цена Аналоги Фото
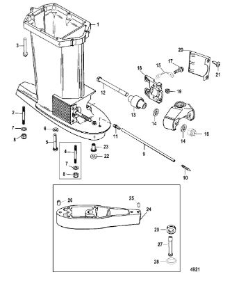
1 816528A1 HOUSING ASSEMBLY, Driveshaft

Под заказ

1

Под заказ

уточнить

Купить
2 9864T6 HOUSING, Driveshaft

Под заказ

1

Под заказ

уточнить

Купить
3 816528A3 HOUSING ASSEMBLY, Driveshaft

Под заказ

1

Под заказ

уточнить

Купить
4 903507 STUD, (M10 x 60)

Под заказ

1

Под заказ

уточнить

Купить
5 903501 Шпилька M10 x 100 (STUD)

Под заказ

1

Под заказ

уточнить

Купить
6 8M0034445 STUD-M10X1.5-160

Под заказ

1

Под заказ

уточнить

Купить
7 817430110 Болт (SCREW (M10 X 110))

Под заказ

6

Под заказ

уточнить

Купить
8 8M0034425 STUD

Под заказ

5

Под заказ

уточнить

Купить
9 856774 Шайба (WASHER)

Под заказ

1

Под заказ

уточнить

Купить
10 40140 Гайка М10 (NUT @2)

Под заказ

1

Под заказ

уточнить

Купить
11 85822A7 SPEEDOMETER PICK UP

Под заказ

1

Под заказ

уточнить

Купить
12 85822T Коннектор прямой (CONNECTOR)

Под заказ

1

Под заказ

уточнить

Купить
13 13035002 FITTING

Под заказ

1

Под заказ

уточнить

Купить
14 8M0010931 SCREW, (M12 x 1.75)

Под заказ

2

Под заказ

уточнить

Купить
15 42930A1 Буфер

Под заказ

2

Под заказ

уточнить

Купить
16 88238A10 Кабель (CABLE ASSY)

Под заказ

1

Под заказ

уточнить

Купить
17 43528 NUT, (M12)

Под заказ

2

Под заказ

уточнить

Купить
18 40011149 SCREW, (M8 x 25)

Под заказ

4

Под заказ

уточнить

Купить
19 8M0036730 CLAMP

Под заказ

2

Под заказ

уточнить

Купить
20 813745 Шайба (SPACER)

Под заказ

1

Под заказ

уточнить

Купить
21 8137451 SPACER (LL)

Под заказ

1

Под заказ

уточнить

Купить
22 43585 Муфта (COUPLING)

Под заказ

1

Под заказ

уточнить

Купить
23 816696A3 SPACER

Под заказ

1

Под заказ

уточнить

Купить
24 816696T5 SPACER

Под заказ

1

Под заказ

уточнить

Купить
25 43044 Штифт (PIN, Dowel - Without Hole (.375 x .625))

Под заказ

1

Под заказ

уточнить

Купить
26 8M0084244 Штифт (PIN - DOWEL)

Под заказ

1

Под заказ

уточнить

Купить
27 817401A1 TUBE ASSEMBLY, Water

Под заказ

1

Под заказ

уточнить

Купить
28 21836 Уплотнительные кольца водяной помпы для Alpha One

Под заказ

1

Под заказ

уточнить

Купить
29 821093 SEAL

Под заказ

1

Под заказ

уточнить

Купить

Нулевая цена не означает отсутствие товара. Оформите заказ, и менеджер сообщит вам цену и наличие товара, предварительно запросив их у поставщика

Главная Магазины
Корзина0
Профиль